Maserati QTP. V8 3.8 530bhp 2014 Part Diagrams
Uncover every spare part and accessory for the Maserati QTP. V8 3.8 530bhp 2014 with our detailed parts diagrams.
001
CRANK CASE

002
CRANK MECHANISM

003
AUXILIARY DEVICE BELTS

004
RH CYLINDER HEAD

005
LH CYLINDER HEAD

006
RH CYLINDER HEAD CAMSHAFT

007
LH CYLINDER HEAD CAMSHAFT

008
TIMING

009
VALVES

010
TURBOCHARGING SYSTEM: EQUIPMENTS

011
TURBOCHARGING SYSTEM: LUBRICATION AND COOLING

012
INTERCOOLING SYSTEM

013
INTAKE MANIFOLD AND THROTTLE BODY

014
AIR FILTER, AIR INTAKE AND DUCTS

015
FUEL TANK

016
FUEL PUMPS AND CONNECTION LINES

017
FUEL PUMPS AND CONNECTION LINES

018
FUEL VAPOUR RECIRCULATION SYSTEM

019
ADDITIONAL AIR SYSTEM

020
ADDITIONAL AIR SYSTEM

021
ADDITIONAL AIR SYSTEM

022
LUBRICATION SYSTEM: CIRCUIT AND COLLECTION

023
LUBRICATION SYSTEM: PUMP AND FILTER

024
HEAT EXCHANGER

025
OIL VAPOUR RECIRCULATION SYSTEM

026
COOLING SYSTEM: AIR RADIATORS AND DUCTS

027
COOLING SYSTEM: NOURICE AND LINES

028
COOLING SYSTEM: NOURICE AND LINES

029
COOLING SYSTEM: NOURICE AND LINES

030
COOLING SYSTEM: WATER PUMPS

031
PRE CATALYTIC CONVERTER AND CATALYTIC CONVERTERS

032
SILENCERS

033
ELECTRONIC CONTROL: INJECTION AND ENGINE TIMING CONTROLING

034
ELECTRONIC CONTROL: ENGINE IGNITION

035
DRIVER CONTROLS FOR AUTOMATIC GEARBOX

036
GEARBOX HOUSING

037
DIFFERENTIAL AND REAR AXLE SHAFTS

038
TRANSMISSION SHAFT

039
LUBRICATION AND GEARBOX OIL COOLING

040
BREAK SERVO SYSTEM

041
BRAKING DEVICES ON FRONT WHEELS

042
BRAKING DEVICES ON REAR WHEELS

043
LINES

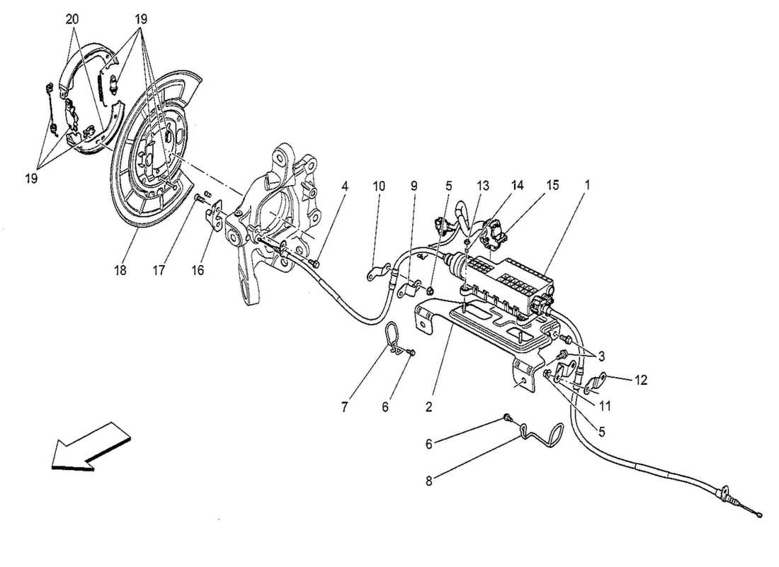
044
PARKING BRAKE

045
BRAKING CONTROL SYSTEMS

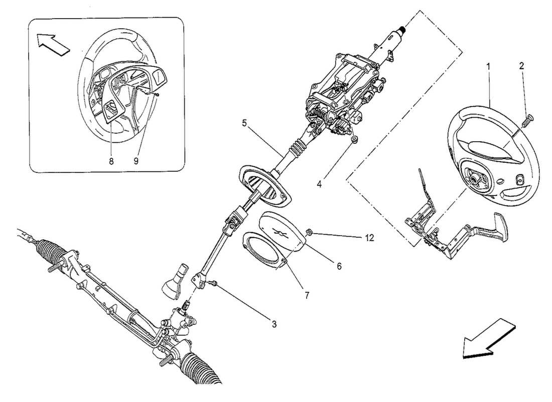
046
STEERING COLUMN AND STEERING WHEEL UNIT

047
STEERING RACK AND HYDRAULICS STEERING PUMP

048
COMPLETE PEDAL BOARD UNIT

049
WHEELS AND TYRES

050
FRONT SUSPENSION

051
FRONT SHOCK ABSORBER DEVICES

052
REAR SUSPENSION

053
REAR SUSPENSION

054
REAR SHOCK ABSORBER DEVICES

055
REAR CHASSIS

056
ELECTRONIC CONTROL (SUSPENSION)

057
FRONT AIRBAG SYSTEM

058
FRONT SIDE BAG SYSTEM

059
WINDOW BAG SYSTEM

060
CRASH SENSORS

061
FRONT SEAT BELTS

062
REAR SEAT BELTS

063
TYRE PRESSURE MONITORING SYSTEM

064
ACCESSORIES PROVIDED

065
ACCESSORIES PROVIDED

066
AFTER MARKET ACCESSORIES

067
AFTER MARKET ACCESSORIES

068
EXTERNAL VEHICLE DEVICES

069
INTERNAL VEHICLE DEVICES

070
ENERGY GENERATION AND ACCUMULATION

071
HEADLIGHT CLUSTERS

072
TAILLIGHT CLUSTERS

073
LIGHTING SYSTEM CONTROL

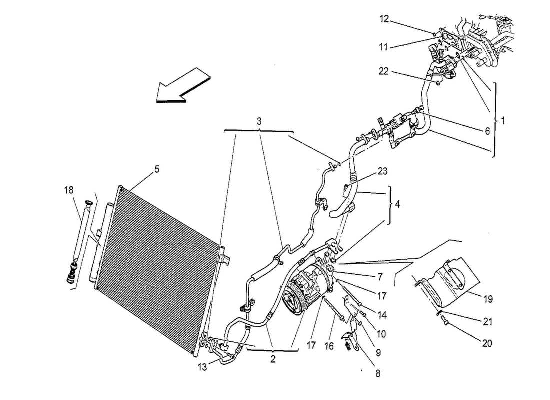
074
A C UNIT: ENGINE COMPARTMENT DEVICES

075
A C UNIT: ENGINE COMPARTMENT DEVICES

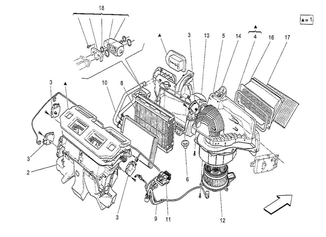
076
A C UNIT: DASHBOARD DEVICES

077
A C UNIT: DIFFUSION

078
A C UNIT: TUNNEL DEVICES

079
A C UNIT: ELECTRONIC CONTROL

080
A C UNIT: ELECTRONIC CONTROL

081
DASHBOARD DEVICES

082
CENTRE CONSOLE DEVICES

083
CENTRE CONSOLE DEVICES

084
DOOR DEVICES

085
ALARM AND IMMOBILIZER SYSTEM

086
MAIN WIRING

087
MAIN WIRING

088
RELAYS, FUSES AND BOXES

089
SOUND DIFUSION SYSTEM

090
SOUND DIFUSION SYSTEM

091
IT SYSTEM

092
IT SYSTEM

093
RECEPTION AND CONNECTION SYSTEM

094
BODYWORK AND FRONT OUTER TRIM PANELS

095
BODYWORK AND CENTRAL OUTER TRIM PANELS

096
BODYWORK AND REAR OUTER TRIM PANELS

097
FRONT STRUCTURAL FRAMES AND SHEET PANELS

098
CENTRAL STRUCTURAL FRAMES AND SHEET PANELS

099
REAR STRUCTURAL FRAMES AND SHEET PANELS

100
FRONT BUMPER

101
REAR BUMPER

102
PARKING SENSORS

103
WHEEL HOUSE AND LIDS

104
UNDERBODY AND UNDERFLOOR GUARDS

105
SHIELDS, TRIMS AND COVERING PANELS

106
TRIMS, BRANDS AND SYMBOLS

107
STICKERS AND LABELS

108
STICKERS AND LABELS

109
FRONT LID

110
REAR LID

111
FUEL TANK DOOR AND CONTROLS

112
FRONT LID OPENING BUTTON

113
REAR LID OPENING CONTROL

114
FRONT DOORS: TRIM PANELS

115
FRONT DOORS: MECHANISMS

116
REAR DOORS: TRIM PANELS

117
REAR DOORS: MECHANISMS

118
WINDOWS AND WINDOW STRIPS

119
INTERNAL AND EXTERNAL REAR-VIEW MIRRORS

120
FRONT SEATS: TRIM PANELS

121
FRONT SEATS: TRIM PANELS

122
FRONT SEATS: TRIM PANELS

123
FRONT SEATS: MECHANICS AND ELECTRONICS

124
FRONT SEATS: MECHANICS AND ELECTRONICS

125
REAR SEATS: TRIM PANELS

126
REAR SEATS: TRIM PANELS

127
REAR SEATS: MECHANICS AND ELECTRONICS

128
REAR SEATS: MECHANICS AND ELECTRONICS

129
PASSENGER COMPARTMENT B PILLAR TRIM PANELS AND SIDE PANELS

130
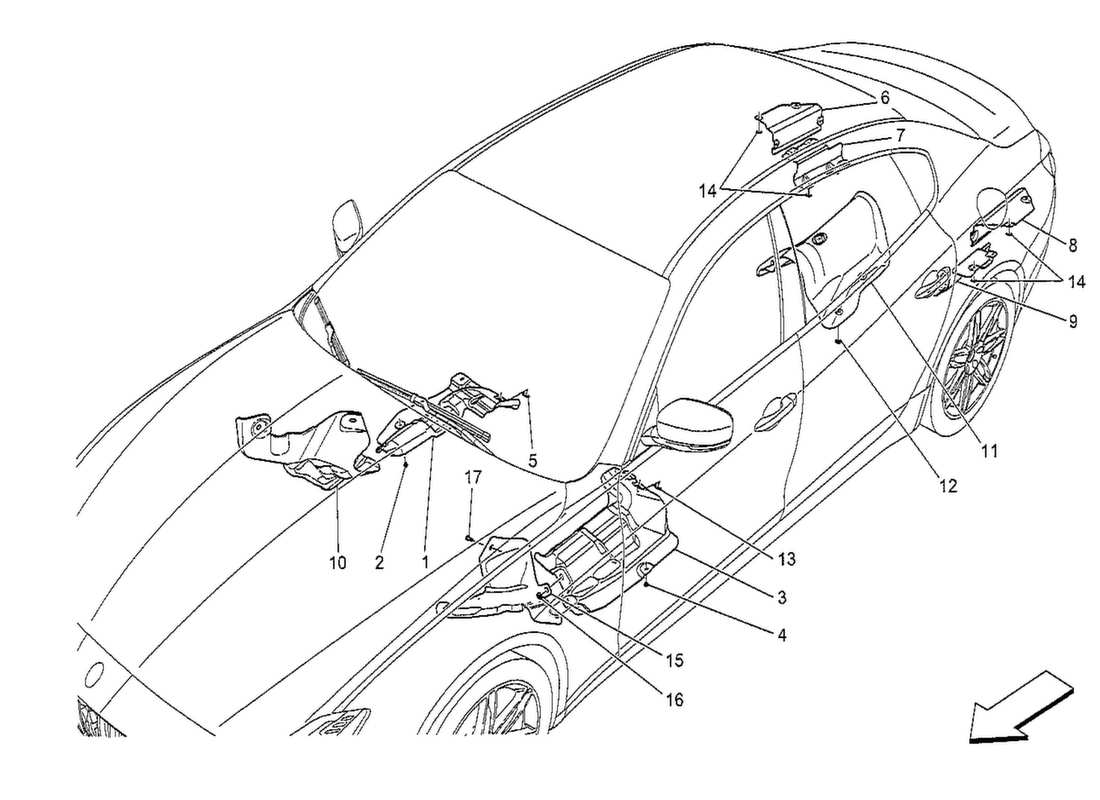
ROOF AND SUN VISORS

131
REAR PARCEL SHELF

132
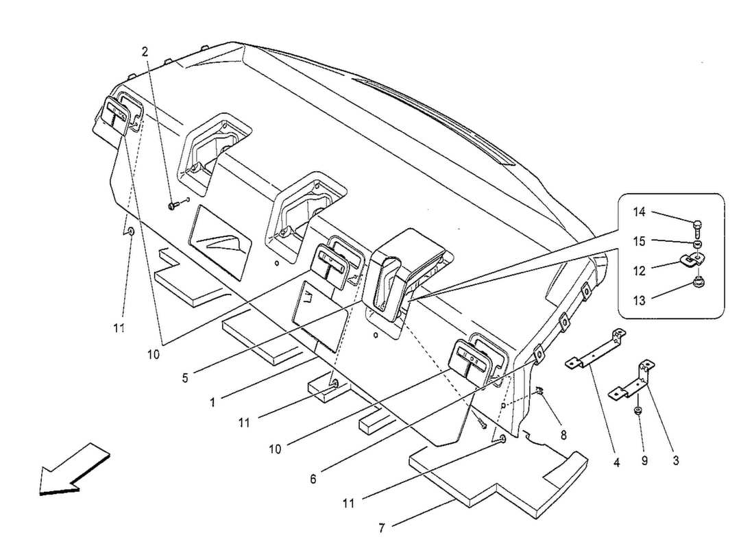
REAR PARCEL SHELF

133
REAR PARCEL SHELF

134
DASHBOARD UNIT

135
ACCESSORY CONSOLE AND CENTRE CONSOLE

136
GLOVE COMPARTMENTS

137
ACCESSORY CONSOLE AND REAR CONSOLE

138
PASSENGER COMPARTMENT MATS

139
LUGGAGE COMPARTMENT MATS

140
SOUND-PROOFING PANELS INSIDE THE VEHICLE

141
THERMAL INSULATING PANELS

142