Lamborghini Gallardo STS II SC Part Diagrams
Maintain the original quality of your Lamborghini Gallardo STS II SC with our range of OEM spare parts available in our detailed diagrams.
001
NAMEPLATES

002
DECORATIVE ADHESIVES

003
ACCESSORIES

004
KIT SERVICE

005
ENGINE

006
CRANKCASE

007
UNDER CRANKCASE

008
COVER FOR AXLE DIFFERENTIAL

009
PHASE SENSORS LEFT CYLINDER HEAD

010
PHASE SENSORS RIGHT CYLINDER HEAD

011
OIL SUMP

012
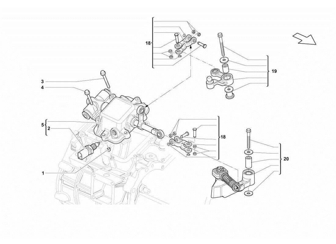
OIL BREATHER PIPE

013
LEFT CYLINDER HEAD AND COVER 6-10

014
RIGHT CYLINDER HEAD AND COVER 1-5

015
CRANKSHAFT - CONNECTING ROD

016
PISTONS

017
RIGHT HEAD TIMING SYSTEM

018
LEFT HEAD TIMING SYSTEM

019
HEAD TIMING SYSTEM

020
OIL FILTER

021
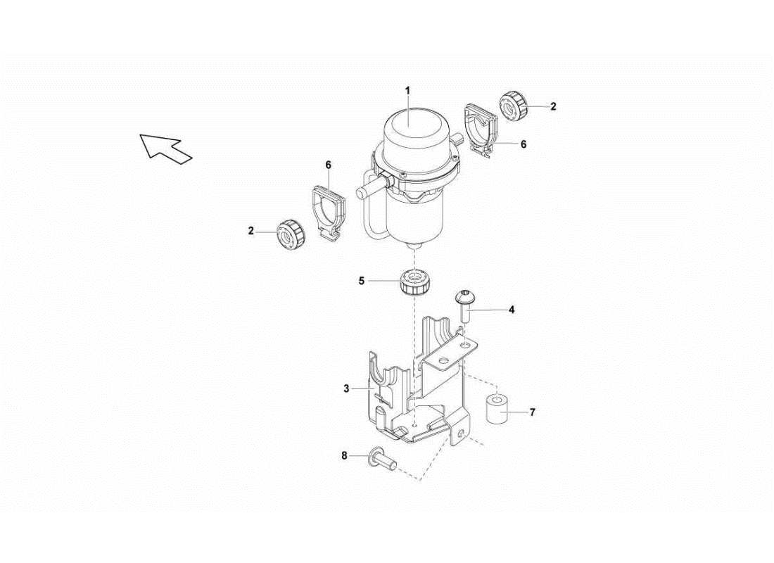
OIL SYSTEM RADIATOR

022
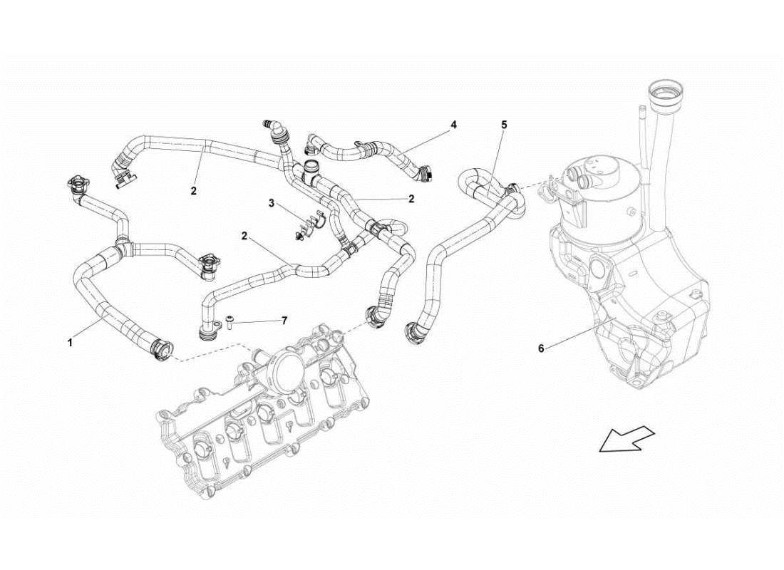
WATER COOLING SYSTEM

023
WATER COOLING SYSTEM

024
WATER COOLING SYSTEM

025
INTAKE MANIFOLD

026
VACUUM SYSTEM

027
EXHAUST SYSTEM

028
SECONDARY AIR SYSTEM

029
AIR FILTER BOX

030
FUEL PUMP

031
CLUTCH (MANUAL)

032
CLUTCH (E-GEAR)

033
SECURING PARTS FOR ENGINE

034
FUEL CAP

035
TANKS AND IMPLANTATIONS

036
PUMP - FUEL SENDER

037
VAPOR FILTER

038
FUEL FILTER

039
EXHAUST SYSTEM

040
EXHAUST SYSTEM

041
AIR CONDITIONING SYSTEM

042
AIR CONDITIONING SYSTEM

043
AIR CONDITIONING SYSTEM

044
AIR CONDITIONING SYSTEM

045
ASSEMBLY

046
GEARBOX - REAR DIFFERENTIAL CASE

047
GEARBOX OIL PUMP

048
MAIN SHAFT

049
DRIVEN SHAFT - PTO

050
GEARBOX SHIFTING RODS AND FORKS

051
MECHANICAL ACTUATOR

052
REAR DIFFERENTIAL

053
PROPELLER SHAFT

054
OIL COOLER

055
FRONT DRIVE SHAFT

056
FRONT ARMS

057
FRONT DIFFERENTIAL ASSEMBLY

059
JACKING SYSTEM

060
STEERING

061
STEERING RACK

062
OIL COOLER

063
POWER STEERING

064
REAR DRIVE SHAFT

065
REAR ARMS

067
FRONT TYRES

068
REAR TYRE

069
BRAKE SYSTEM

070
ELECTRIC BRAKE SYSTEM PUMP

071
REGULATION OF FORCES REFRAINING

072
FRONT BRAKES DISCS CCB

073
REAR BRAKES DISCS STD-CCB

074
FRONT BRAKES DISCS STD

075
FRONT FRAME ELEMENTS

076
FRONT FRAME ELEMENTS

077
FRONT FRAME ELEMENTS

078
FRONT FRAME ATTACHMENTS

079
CENTER FRAME ELEMENTS

080
CENTER FRAME ELEMENTS

081
CENTER FRAME ELEMENTS

082
REAR FRAME ELEMENTS

083
REAR FRAME ELEMENTS

084
REAR FRAME ELEMENTS

085
LATERAL FRAME ATTACHMENTS

086
REAR FRAME ATTACHMENTS

087
HAND BRAKE

088
ACCELERATOR PEDAL

089
PEDALBOX ASSEMBLY

090
POWER BRAKE

091
FRONT BUMPERS

092
REAR BUMPERS

093
FRONT BUMPERS

094
DASHBOARD AIR PIPE

095
ROOF PANEL

096
FRONT FENDER

097
WHEELHOUSE

098
REAR END PANEL

099
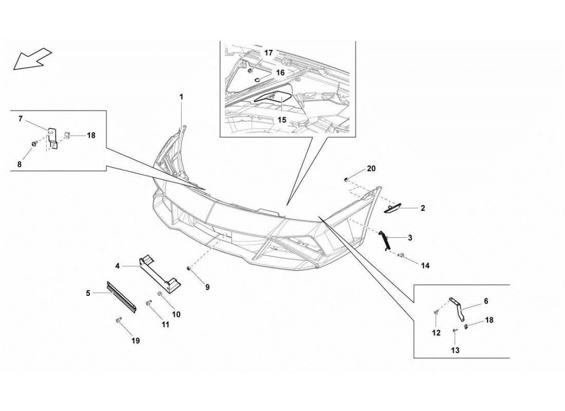
FRONT HOOD

100
LUGGAGE BOOT TRIMS

101
FRAME FLOOR PANELS

102
HEAT SHIELD

103
AESTHETIC HEAT - STANDARD

104
REAR FENDER

105
SPOILER

106
EXTERIOR REARVIEW MIRROR

107
DOORS

108
DOORS

109
DOORS

110
WINDOWS

111
EXTERNAL SIDE MEMBER

112
DASHBOARD

113
PASSENGER SIDE DRAWER

114
CHASSIS

115
DASHBOARD INSTRUMENTS

116
HI-FI SYSTEM

117
KEYS KIT

118
PASSENGER COMPARTMENT TRIMS

119
ROOF PANEL ACCESSORIES

120
EXTINGUISHER

121
REAR TUNNEL

122
FRONT TUNNEL

123
INSULATIONS AND SOUNDPROOFING

124
INSULATIONS AND SOUNDPROOFING

125
ROLL BAR

126
SEATS AND SAFETY BELTS - SPORT

127
ALTERNATOR AND STRAPS

128
SYSTEM IGNITION

129
TPMS SYSTEM

130
ELECTRICAL SYSTEM

131
ELECTRICAL SYSTEM

132
STARTER

133
LIGHTS

134
LIGHTS

135
WINDSHIELD WIPER

136
WASHER RESERVOIR ASSEMBLY

137
HEADLIGHT WASHER

138
ELECTRICAL SYSTEM

139
ELECTRICAL SYSTEM

140