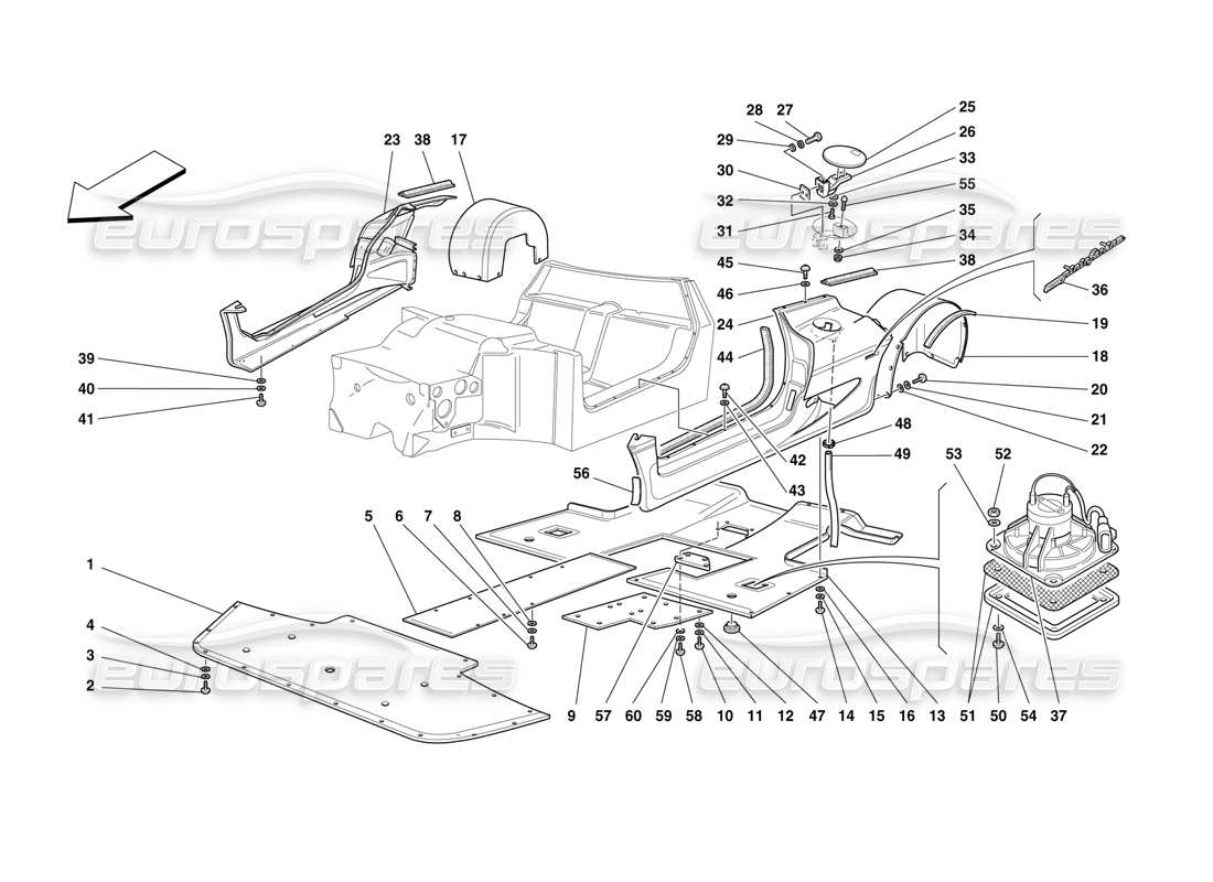
ferrari f50 body - lateral elements, flat floor pan and rear wheelhouses parts diagram

105 - Body - Lateral Elements, Flat Floor Pan and Rear Wheelhouses

Ferrari F50 Body - Lateral Elements, Flat Floor Pan and Rear Wheelhouses Parts Diagram

View the exploded parts diagram to find the part you are looking for
  • You can reposition the diagram by dragging it
  • You can zoom in and out of the diagram by scrolling, pinching, or using theandbuttons
  • You can reset the diagram using thebutton
View all the part pricing and availability information on the parts table to the rightbelow
  • You can click on a hotspot in the parts diagram to locate the part in the table
  • You can use the options filter, in the filter tab, to hide parts not relevant to your search
Switch between other part diagrams using theandbuttons, or use the diagram images below
We recommend viewing this page in landscape orientation for the best experience
Part Key
ST
Part in stock
PS
Available in a part set
SS
Part supersession in stock
PS
Available in a part set to order (Subject to availability)
SO
Part available to order (Subject to availability)
PK
Available in a part kit
                                                                                                                    #
                                                                                                                    Part number
                                                                                                                    Description
                                                                                                                    Price
                                                                                                                    # 001
                                                                                                                    MPN: 64489800
                                                                                                                    FRONT UNDERBODY FLOOR
                                                                                                                    from £8,206.41
                                                                                                                    from £8,206.41
                                                                                                                    # 002
                                                                                                                    MPN: 13026187
                                                                                                                    SCREW
                                                                                                                    from £2.06
                                                                                                                    from £2.06
                                                                                                                    # 003
                                                                                                                    MPN: 166467
                                                                                                                    WASHER
                                                                                                                    from £0.54
                                                                                                                    from £0.54
                                                                                                                    # 004
                                                                                                                    MPN: 12638178
                                                                                                                    WASHER
                                                                                                                    from £0.51
                                                                                                                    from £0.51
                                                                                                                    This part replaces part number 10519578 which we have in stock - and 3 more. Click to view details
                                                                                                                    # 004
                                                                                                                    MPN: 14496377
                                                                                                                    WASHER
                                                                                                                    - Not as spare part now - Replaced by 12638177
                                                                                                                    from £1.07
                                                                                                                    from £1.07
                                                                                                                    This part replaces part number 14496309
                                                                                                                    # 005
                                                                                                                    MPN: 63657200
                                                                                                                    UNDER TUNNEL FLAT FLOOR PAN
                                                                                                                    from £3,100.37
                                                                                                                    from £3,100.37
                                                                                                                    # 006
                                                                                                                    MPN: 13026187
                                                                                                                    SCREW
                                                                                                                    from £2.06
                                                                                                                    from £2.06
                                                                                                                    # 007
                                                                                                                    MPN: 166467
                                                                                                                    WASHER
                                                                                                                    from £0.53
                                                                                                                    from £0.53
                                                                                                                    # 008
                                                                                                                    MPN: 14496377
                                                                                                                    WASHER
                                                                                                                    from £1.07
                                                                                                                    from £1.07
                                                                                                                    This part replaces part number 14496309
                                                                                                                    # 009
                                                                                                                    MPN: 64490100
                                                                                                                    REAR CENTRAL UNDERBODY FLOOR
                                                                                                                    from £8,014.83
                                                                                                                    from £8,014.83
                                                                                                                    # 010
                                                                                                                    MPN: 13026187
                                                                                                                    SCREW
                                                                                                                    from £2.06
                                                                                                                    from £2.06
                                                                                                                    # 011
                                                                                                                    MPN: 166467
                                                                                                                    WASHER
                                                                                                                    from £0.52
                                                                                                                    from £0.52
                                                                                                                    # 012
                                                                                                                    MPN: 14496377
                                                                                                                    WASHER
                                                                                                                    from £1.07
                                                                                                                    from £1.07
                                                                                                                    This part replaces part number 14496309
                                                                                                                    # 013
                                                                                                                    MPN: 63656900
                                                                                                                    REAR UNDERBODY FLOOR
                                                                                                                    - Completed of insulation
                                                                                                                    from £23,083.70
                                                                                                                    from £23,083.70
                                                                                                                    # 014
                                                                                                                    MPN: 13026187
                                                                                                                    SCREW
                                                                                                                    from £2.06
                                                                                                                    from £2.06
                                                                                                                    # 015
                                                                                                                    MPN: 166467
                                                                                                                    WASHER
                                                                                                                    from £0.52
                                                                                                                    from £0.52
                                                                                                                    # 016
                                                                                                                    MPN: 14496377
                                                                                                                    WASHER
                                                                                                                    from £1.07
                                                                                                                    from £1.07
                                                                                                                    This part replaces part number 14496309
                                                                                                                    # 017
                                                                                                                    MPN: 63673700
                                                                                                                    RH REAR GRAVEL GUARD
                                                                                                                    from £3,004.76
                                                                                                                    from £3,004.76
                                                                                                                    # 018
                                                                                                                    MPN: 63673800
                                                                                                                    LH REAR GRAVEL GUARD
                                                                                                                    from £1,652.62
                                                                                                                    from £1,652.62
                                                                                                                    # 019
                                                                                                                    MPN: 64137800
                                                                                                                    GASKET
                                                                                                                    from £27.08
                                                                                                                    from £27.08
                                                                                                                    # 020
                                                                                                                    MPN: 13274277
                                                                                                                    SCREW
                                                                                                                    from £0.47
                                                                                                                    from £0.47
                                                                                                                    # 021
                                                                                                                    MPN: 166467
                                                                                                                    WASHER
                                                                                                                    from £0.50
                                                                                                                    from £0.50
                                                                                                                    # 022
                                                                                                                    MPN: 14496377
                                                                                                                    WASHER
                                                                                                                    from £1.07
                                                                                                                    from £1.07
                                                                                                                    This part replaces part number 14496309
                                                                                                                    # 023
                                                                                                                    MPN: 63673510
                                                                                                                    RH MUDGUARD SIDE COVER
                                                                                                                    from £12,984.29
                                                                                                                    from £12,984.29
                                                                                                                    # 024
                                                                                                                    MPN: 63673610
                                                                                                                    LH MUDGUARD SIDE COVER
                                                                                                                    from £19,401.42
                                                                                                                    from £19,401.42
                                                                                                                    # 025
                                                                                                                    MPN: 64168110
                                                                                                                    FUEL INLET LID
                                                                                                                    from £368.07
                                                                                                                    from £368.07
                                                                                                                    # 026
                                                                                                                    MPN: 62761300
                                                                                                                    COMPLETE HINGE
                                                                                                                    from £79.67
                                                                                                                    from £79.67
                                                                                                                    # 027
                                                                                                                    MPN: 13274177
                                                                                                                    SCREW
                                                                                                                    (minimum order quantity = 10)
                                                                                                                    from £0.53
                                                                                                                    from £0.53
                                                                                                                    This part replaces part number 13274172
                                                                                                                    # 028
                                                                                                                    MPN: 166467
                                                                                                                    WASHER
                                                                                                                    from £0.57
                                                                                                                    from £0.57
                                                                                                                    # 029
                                                                                                                    MPN: 12638178
                                                                                                                    WASHER
                                                                                                                    from £0.54
                                                                                                                    from £0.54
                                                                                                                    This part replaces part number 10519578 which we have in stock - and 3 more. Click to view details
                                                                                                                    # 030
                                                                                                                    MPN: 64794000
                                                                                                                    SMALL PLATE
                                                                                                                    from £17.92
                                                                                                                    from £17.92
                                                                                                                    # 031
                                                                                                                    MPN: 13273872
                                                                                                                    SCREW
                                                                                                                    from £0.53
                                                                                                                    from £0.53
                                                                                                                    # 032
                                                                                                                    MPN: 166467
                                                                                                                    WASHER
                                                                                                                    from £0.57
                                                                                                                    from £0.57
                                                                                                                    # 033
                                                                                                                    MPN: 12638178
                                                                                                                    WASHER
                                                                                                                    from £0.54
                                                                                                                    from £0.54
                                                                                                                    This part replaces part number 10519578 which we have in stock - and 3 more. Click to view details
                                                                                                                    # 034
                                                                                                                    MPN: 12577811
                                                                                                                    NUT
                                                                                                                    Supersession
                                                                                                                    Supersession
                                                                                                                    # 035
                                                                                                                    MPN: 10519301
                                                                                                                    WASHER
                                                                                                                    from £15.44
                                                                                                                    from £15.44
                                                                                                                    This part replaces part number 10517377 - and 2 more. Click to view details
                                                                                                                    # 036
                                                                                                                    MPN: 64780500
                                                                                                                    PININFARINA ORNAMENT
                                                                                                                    from £34.09
                                                                                                                    from £34.09
                                                                                                                    # 037
                                                                                                                    MPN: 167286
                                                                                                                    ELECTROFAN
                                                                                                                    from £165.35
                                                                                                                    from £165.35
                                                                                                                    # 038
                                                                                                                    MPN: 64196500
                                                                                                                    GASKET
                                                                                                                    from £178.49
                                                                                                                    from £178.49
                                                                                                                    # 039
                                                                                                                    MPN: 14496377
                                                                                                                    WASHER
                                                                                                                    from £1.07
                                                                                                                    from £1.07
                                                                                                                    This part replaces part number 14496309
                                                                                                                    # 040
                                                                                                                    MPN: 166467
                                                                                                                    WASHER
                                                                                                                    from £0.55
                                                                                                                    from £0.55
                                                                                                                    # 041
                                                                                                                    MPN: 13026187
                                                                                                                    SCREW
                                                                                                                    from £2.06
                                                                                                                    from £2.06
                                                                                                                    # 042
                                                                                                                    MPN: 147365
                                                                                                                    SCREW
                                                                                                                    from £1.62
                                                                                                                    from £1.62
                                                                                                                    # 043
                                                                                                                    MPN: 14496377
                                                                                                                    WASHER
                                                                                                                    from £1.07
                                                                                                                    from £1.07
                                                                                                                    This part replaces part number 14496309
                                                                                                                    # 044
                                                                                                                    MPN: 64736600
                                                                                                                    GASKET
                                                                                                                    from £27.39
                                                                                                                    from £27.39
                                                                                                                    # 045
                                                                                                                    MPN: 13274277
                                                                                                                    SCREW
                                                                                                                    from £0.50
                                                                                                                    from £0.50
                                                                                                                    # 046
                                                                                                                    MPN: 14496377
                                                                                                                    WASHER
                                                                                                                    from £1.07
                                                                                                                    from £1.07
                                                                                                                    This part replaces part number 14496309
                                                                                                                    # 047
                                                                                                                    MPN: 64917700
                                                                                                                    PLUG
                                                                                                                    from £8.95
                                                                                                                    from £8.95
                                                                                                                    # 048
                                                                                                                    MPN: 12173690
                                                                                                                    SCREW COLLAR
                                                                                                                    # 049
                                                                                                                    MPN: 123391
                                                                                                                    EXHAUST TUBE
                                                                                                                    from £6.84
                                                                                                                    from £6.84
                                                                                                                    This part replaces part number 62510100
                                                                                                                    # 050
                                                                                                                    MPN: 13272270
                                                                                                                    SCREW
                                                                                                                    from £0.71
                                                                                                                    from £0.71
                                                                                                                    # 051
                                                                                                                    MPN: 64158200
                                                                                                                    GRILL
                                                                                                                    from £68.81
                                                                                                                    from £68.81
                                                                                                                    # 052
                                                                                                                    MPN: 10794011
                                                                                                                    NUT
                                                                                                                    from £0.28
                                                                                                                    from £0.28
                                                                                                                    # 053
                                                                                                                    MPN: 14496277
                                                                                                                    WASHER
                                                                                                                    from £0.51
                                                                                                                    from £0.51
                                                                                                                    # 054
                                                                                                                    MPN: 12601074
                                                                                                                    WASHER
                                                                                                                    from £0.47
                                                                                                                    from £0.47
                                                                                                                    This part replaces part number 12601070 which we have in stock
                                                                                                                    # 055
                                                                                                                    MPN: 62453200
                                                                                                                    STOP PIN
                                                                                                                    from £7.25
                                                                                                                    from £7.25
                                                                                                                    # 056
                                                                                                                    MPN: 65126700
                                                                                                                    LH PROTECTION
                                                                                                                    from £34.91
                                                                                                                    from £34.91
                                                                                                                    This part replaces part number 65122100
                                                                                                                    # 056
                                                                                                                    MPN: 65126800
                                                                                                                    RH PROTECTION
                                                                                                                    from £34.91
                                                                                                                    from £34.91
                                                                                                                    This part replaces part number 65122100
                                                                                                                    # 057
                                                                                                                    MPN: 64638000
                                                                                                                    GEARBOX INSPECTION DOOR
                                                                                                                    from £1,010.51
                                                                                                                    from £1,010.51
                                                                                                                    # 058
                                                                                                                    MPN: 14305234
                                                                                                                    SCREW
                                                                                                                    from £0.53
                                                                                                                    from £0.53
                                                                                                                    This part replaces part number 14305287
                                                                                                                    # 059
                                                                                                                    MPN: 166601
                                                                                                                    WASHER
                                                                                                                    from £0.51
                                                                                                                    from £0.51
                                                                                                                    # 060
                                                                                                                    MPN: 14496478
                                                                                                                    WASHER
                                                                                                                    from £0.71
                                                                                                                    from £0.71