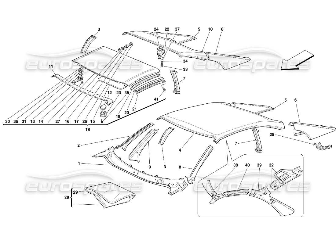
ferrari 355 (5.2 motronic) roof - outer trims parts diagram

105 - Roof - Outer Trims

Ferrari 355 (5.2 Motronic) Roof - Outer Trims Parts Diagram

View the exploded parts diagram to find the part you are looking for
  • You can reposition the diagram by dragging it
  • You can zoom in and out of the diagram by scrolling, pinching, or using theandbuttons
  • You can reset the diagram using thebutton
View all the part pricing and availability information on the parts table to the rightbelow
  • You can click on a hotspot in the parts diagram to locate the part in the table
  • You can use the options filter, in the filter tab, to hide parts not relevant to your search
Switch between other part diagrams using theandbuttons, or use the diagram images below
We recommend viewing this page in landscape orientation for the best experience
Part Key
ST
Part in stock
PS
Available in a part set
SS
Part supersession in stock
PS
Available in a part set to order (subject to availability)
SO
Part available to order (subject to availability)
PK
Available in a part kit
        #
        Part number
        Description
        Price
        # 001
        MPN: 62181100
        TAIL WINDSHIELD TRIM
        -Not for GD
        from £108.27
        from £108.27
        # 001
        MPN: 62183900
        TAIL WINDSHIELD TRIM
        -Valid for GD
        from £121.96
        from £121.96
        # 002
        MPN: 62059900
        RH OUTER TRIM FOR WINDSHIELD VERTICAL ROD
        from £259.76
        from £259.76
        # 003
        MPN: 62083700
        RH REAR VERTICAL ROD
        -Not for GTS
        from £354.76
        from £354.76
        # 003
        MPN: 64383200
        RH REAR VERTICAL ROD
        -Valid for GTS
        from £37.74
        from £37.74
        # 004
        MPN: 63234900
        ROOF UPHOLSTERY
        -Valid for Berlinetta
        from £1,391.15
        from £1,391.15
        # 005
        MPN: 62062100
        RH FIN TRIM
        -Valid for BERLINETTA and GTS
        from £411.72
        from £411.72
        # 006
        MPN: 62062200
        LH FIN TRIM
        -Valid for BERLINETTA and GTS
        from £110.33
        from £110.33
        # 007
        MPN: 62083800
        LH REAR VERTICAL ROD
        -Not for GTS
        from £37.74
        from £37.74
        # 007
        MPN: 64383300
        LH REAR VERTICAL ROD
        -Valid for GTS
        from £37.74
        from £37.74
        # 008
        MPN: 62060000
        LH OUTER TRIM FOR WINDSHIELD VERTICAL ROD
        from £43.40
        from £43.40
        # 009
        MPN: 62080300
        RH INNER VERTICAL ROD
        from £81.74
        from £81.74
        # 009
        MPN: 62080400
        LH INNER VERTICAL ROD
        from £337.88
        from £337.88
        # 010
        MPN: 63236200
        ROOF UPHOLSTERY
        -Valid for GTS
        from £219.99
        from £219.99
        # 011
        MPN: 62110800
        WINDSHIELD UPPER CROSSPIECE TRIM
        -Valid for GTS and Spider
        from £443.57
        from £443.57
        # 012
        MPN: 63238700
        THICKNESS
        -Possible fitting - Valid for GTS
        from £2.63
        from £2.63
        This part replaces part number 62338700
        # 013
        MPN: 64323200
        HANDLE
        -Valid for GTS
        from £745.59
        from £745.59
        # 014
        MPN: 14303382
        SCREW
        -Valid for GTS
        from £0.84
        from £0.84
        # 015
        MPN: 630198..
        RH COVER
        -Made of leather - Valid for GTS - See INNER TRIMS CAR CODES table for codes of parts covered in leather or moquette
        Supersession
        Supersession
        # 015
        MPN: 630199..
        LH COVER
        -Made of leather - Valid for GTS - See INNER TRIMS CAR CODES table for codes of parts covered in leather or moquette
        Supersession
        Supersession
        # 015
        MPN: 64484800
        RH COVER
        -Grey - Made of cloth - Valid for GTS
        from £176.39
        from £176.39
        # 015
        MPN: 64484900
        RH COVER
        -Beige - Made of cloth - Valid for GTS
        from £176.39
        from £176.39
        # 015
        MPN: 64485000
        RH COVER
        -Red - Made of cloth - Valid for GTS
        # 015
        MPN: 64485100
        RH COVER
        -Blue - Made of cloth - Valid for GTS
        # 015
        MPN: 64485200
        LH COVER
        -Grey - Made of cloth - Valid for GTS
        from £176.39
        from £176.39
        # 015
        MPN: 64485300
        LH COVER
        -Beige - Made of cloth - Valid for GTS
        from £176.39
        from £176.39
        # 015
        MPN: 64485400
        LH COVER
        -Red - Made of cloth - Valid for GTS
        # 015
        MPN: 64485500
        LH COVER
        -Blue - Made of cloth - Valid for GTS
        # 016
        MPN: 12601374
        WASHER
        -Valid for GTS
        from £0.54
        from £0.54
        This part replaces part number 10615474 - and 6 more. Click to view details
        # 017
        MPN: 63634500
        PIN
        -Valid for GTS
        from £35.70
        from £35.70
        This part replaces part number 62112800 which we have in stock - and 1 more. Click to view details
        # 018
        MPN: 64342900
        SUN ROOF
        Valid for GTS - Bare roof
        from £2,113.28
        from £2,113.28
        TARGA ROOF Genuine Ferrari Part - Used In stock
        WITHOUT RUBBER GASKETS AND CATCHES
        # 018
        MPN: 65582900
        CARBON ROOF
        from £6,496.44
        from £6,496.44
        # 019
        MPN: 64343400
        RH TROUGH
        -Valid for GTS
        from £122.68
        from £122.68
        # 019
        MPN: 64343500
        LH TROUGH
        -Valid for GTS
        from £158.87
        from £158.87
        # 020
        MPN: 64517500
        ROOF RH MOULDING
        -Valid for GTS
        from £129.78
        from £129.78
        # 020
        MPN: 64517600
        ROOF LH MOULDING
        -Valid for GTS
        from £199.50
        from £199.50
        # 021
        MPN: 64343200
        RH GASKET
        -Valid for GTS
        from £633.76
        from £633.76
        # 021
        MPN: 64343300
        LH GASKET
        -Valid for GTS
        from £633.76
        from £633.76
        # 021
        MPN: 65269100
        RH GASKET
        -As an alternative - Valid for GTS
        from £226.50
        from £226.50
        # 021
        MPN: 65269200
        LH GASKET
        -As an alternative - Valid for GTS
        from £226.50
        from £226.50
        # 022
        MPN: 63634600
        ROOF FIXING REAR BRACKET
        -Valid for GTS
        from £6.04
        from £6.04
        This part replaces part number 62113100 - and 1 more. Click to view details
        # 024
        MPN: 62113200
        THICKNESS
        -Possible fitting - Valid for GTS
        from £0.53
        from £0.53
        # 025
        MPN: 65370800
        RH BRACKET
        -Valid for BERLINETTA and GTS
        from £7.44
        from £7.44
        This part replaces part number 64327400
        # 025
        MPN: 65370900
        LH BRACKET
        -Valid for BERLINETTA and GTS
        from £7.44
        from £7.44
        This part replaces part number 64327500
        # 026
        MPN: 63635200
        SPACER
        -Valid for GTS
        from £25.19
        from £25.19
        # 027
        MPN: 12642777
        WASHER
        -Possible fitting - Valid for GTS
        from £0.53
        from £0.53
        This part replaces part number 12642721 which we have in stock - and 1 more. Click to view details
        # 028
        MPN: 63348200
        COMPLETE ROOF OVERLAP
        -Valid for GTS in black
        from £1,000.42
        from £1,000.42
        This part replaces part number 63311200
        # 029
        MPN: 63336200
        ROOF COVER CONTAINING ENVELOPE
        -Valid for GTS
        from £215.19
        from £215.19
        # 030
        MPN: 64619200
        ANTI-VIBRATIONS
        -Valid for GTS
        from £0.47
        from £0.47
        # 031
        MPN: 60399003
        THICKNESS MM. 1
        -Possible fitting - Valid for GTS
        from £3.58
        from £3.58
        # 031
        MPN: 63932300
        THICKNESS MM. 3
        -Possible fitting - Valid for GTS
        from £2.51
        from £2.51
        # 032
        MPN: 64922500
        ROOF REAR CROSS MEMBER
        -Valid for Berlinetta
        from £140.87
        from £140.87
        # 033
        MPN: 10902334
        SCREW
        -Valid for GTS
        from £0.71
        from £0.71
        # 034
        MPN: 106850
        WASHER
        -Valid for GTS
        Supersession
        Supersession
        This part replaces part number 10516473 - and 1 more. Click to view details
        # 035
        MPN: 13301577
        SCREW
        -Valid for GTS
        from £0.50
        from £0.50
        # 036
        MPN: 64328800
        BLOCK
        -Valid for GTS
        from £6.41
        from £6.41
        # 037
        MPN: 64693200
        PLATE
        -Valid for GTS
        from £0.73
        from £0.73
        # 038
        MPN: 64692300
        WINDSCREEN UPPER CROSS ARM BOX-TYPE
        -Valid for Berlinetta
        from £556.83
        from £556.83
        # 039
        MPN: 64922800
        RH FIN FRAME
        -Valid for Berlinetta
        from £66.05
        from £66.05
        # 039
        MPN: 64922900
        LH FIN FRAME
        -Valid for Berlinetta
        from £66.05
        from £66.05
        # 040
        MPN: 64922600
        RH ROOF SIDE RAIL FRAME
        -Valid for Berlinetta
        from £117.39
        from £117.39
        # 040
        MPN: 64922700
        LH ROOF SIDE RAIL FRAME
        -Valid for Berlinetta
        from £86.82
        from £86.82
        # 041
        MPN: 15914877
        SCREW
        -Valid for GTS
        from £0.47
        from £0.47
        This part replaces part number 15914806 - and 1 more. Click to view details